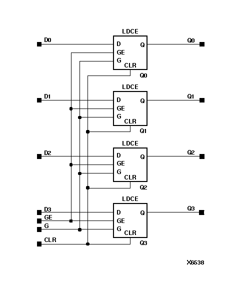
Figure 7.13 LD4CE Implementation XC4000X, XC5200, SpartanXL, Spartan2, Virtex