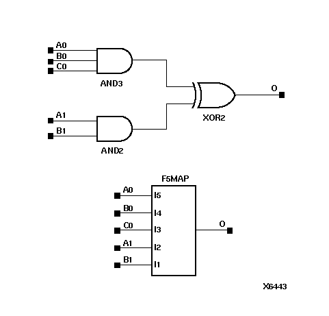
F5MAP Primitive Example

Figure 5.2 F5MAP Primitive Example