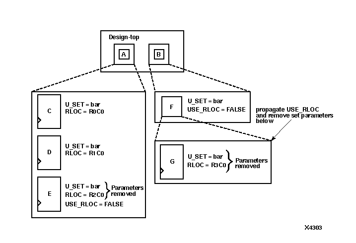
Figure 12.13 Using the USE_RLOC Constraint to Control RLOC Application on U_SET Sets

Using the USE_RLOC Constraint to Control RLOC Application on U_SET Sets figures/x4303n.gif