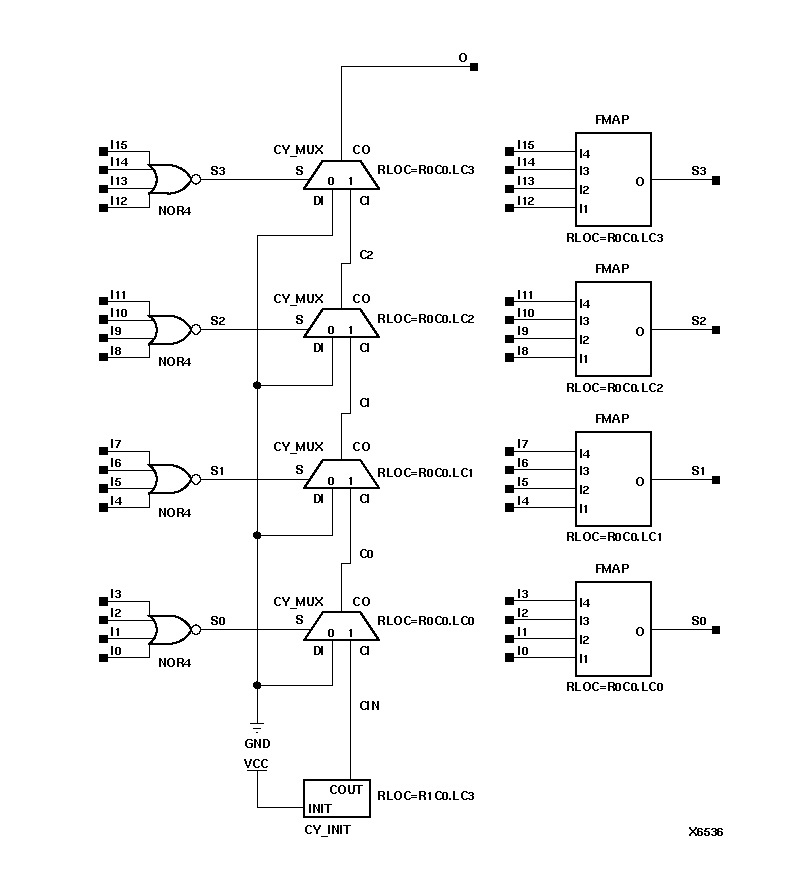
Figure 7.41 NOR16 Implementation XC5200

NOR16 Implementation XC5200 figures/x6536n.gif