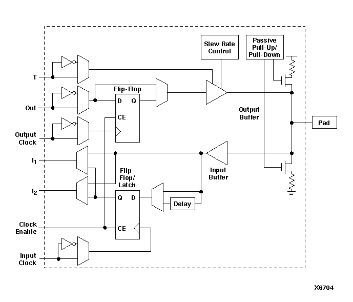
Figure 1.5 XC4000E IOB Structure

XC4000E IOB Structure figures/x6704n.gif